Foram encontradas 50 questões.
Considere
Ka do CH3COOH igual a 1,75x10-5 e
Kb do NH4OH igual a 1,78x10-5


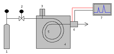
Os dispositivos indicados pelos números 2, 4 e 6 são, respectivamente,
Provas
Considere
Ka do CH3COOH igual a 1,75x10-5 e
Kb do NH4OH igual a 1,78x10-5

Provas
Considere
Ka do CH3COOH igual a 1,75x10-5 e
Kb do NH4OH igual a 1,78x10-5

Provas
Considere
Ka do CH3COOH igual a 1,75x10-5 e
Kb do NH4OH igual a 1,78x10-5

Provas
Considere
Ka do CH3COOH igual a 1,75x10-5 e
Kb do NH4OH igual a 1,78x10-5

Provas
Considere
Ka do CH3COOH igual a 1,75x10-5 e
Kb do NH4OH igual a 1,78x10-5

Provas
Considere
Ka do CH3COOH igual a 1,75x10-5 e
Kb do NH4OH igual a 1,78x10-5

Com relação às Boas Práticas de Laboratório (BPL), considere as seguintes afirmativas:
I. Para a realização de qualquer atividade que esteja relacionada à utilização de substâncias químicas, equipamentos diversos e outros materiais, deve-se inicialmente proceder a um planejamento, de maneira a se detectar qualquer problema que possa interferir no processo, evitando interrupções desnecessárias.
II. Equipamentos de Proteção Individual (EPI) são de uso obrigatório para a execução de qualquer atividade em laboratório, como manuseio de instrumentos, vidrarias, reagentes químicos e soluções.
III. Cilindros de gases devem ter uma atenção especial e devem ser instalados dentro do laboratório, pois, se operados incorretamente, podem gerar situações de risco para o usuário, bem como para as instalações físicas.
IV. Com relação à estocagem de substâncias químicas, utilizam -se cores diversas para facilitar a identificação de equipamentos, delimitação de áreas e advertências contra perigos. .
Dentre as afirmativas, estão corretas
Provas
- Química InorgânicaSoluções e Substâncias InorgânicasSoluções: características, tipos de concentração, diluição, mistura, titulação e soluções coloidais
Considere
Ka do CH3COOH igual a 1,75x10-5 e
Kb do NH4OH igual a 1,78x10-5

Provas
Considere
Ka do CH3COOH igual a 1,75x10-5 e
Kb do NH4OH igual a 1,78x10-5

Provas
Considere
Ka do CH3COOH igual a 1,75x10-5 e
Kb do NH4OH igual a 1,78x10-5

Provas
Caderno Container