Foram encontradas 60 questões.
Dado o circuito CC abaixo:

Os valores de I 1, I 2 e I 3 são, respectivamente, em ampères:

Os valores de I 1, I 2 e I 3 são, respectivamente, em ampères:
Provas
Questão presente nas seguintes provas
O aterramento de proteção consiste na ligação à terra das massas e dos elementos condutores estranhos à instalação, visando à proteção contra:
Provas
Questão presente nas seguintes provas
Os amperímetros de corrente alternada têm como característica possuir:
Provas
Questão presente nas seguintes provas
- Instalações ElétricasEquipamentos em Média Tensão
- Instalações ElétricasSubestações
- Sistemas Elétricos de PotênciaDistribuição de Energia Elétrica
Para se realizar a manutenção ou aferição dos dispositivos de medição de potência de uma subestação em operação normal, devem-se retirar esses dispositivos do circuito com a observância de manter:
Provas
Questão presente nas seguintes provas
A potência média fornecida à resistência R do circuito abaixo, quando V1(t) = 10 e V2(t) = 10cos t vale, em W:


Provas
Questão presente nas seguintes provas
O torque de relutância de um gerador síncrono de polos salientes é diretamente proporcional:
Provas
Questão presente nas seguintes provas
- Instalações ElétricasEquipamentos em Baixa Tensão
- Instalações ElétricasEquipamentos em Média Tensão
- Sistemas Elétricos de PotênciaDistribuição de Energia Elétrica
Na figura abaixo, K1 e F7 referem-se, respectivamente, a:


Provas
Questão presente nas seguintes provas
- Instalações ElétricasEquipamentos em Média Tensão
- Instalações ElétricasSubestações
- Sistemas Elétricos de PotênciaDistribuição de Energia Elétrica
Numa subestação predial de média tensão, os para-raios de linha devem ser instalados:
Provas
Questão presente nas seguintes provas
- Instalações ElétricasEquipamentos em Média Tensão
- Sistemas Elétricos de PotênciaDistribuição de Energia Elétrica
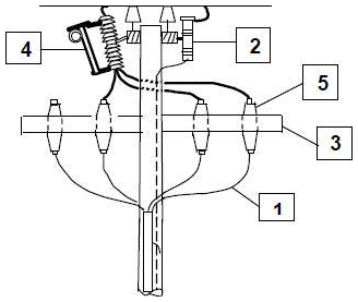
Observe a figura abaixo.

A alternativa que indica corretamente os equipamentos ligados à rede de distribuição, conforme a numeração indicada na figura é:

A alternativa que indica corretamente os equipamentos ligados à rede de distribuição, conforme a numeração indicada na figura é:
Provas
Questão presente nas seguintes provas
Em um circuito medido com o wattímetro encontrou-se 66W, com o voltímetro, 220V e com o amperímetro, 300 mA. A medida obtida com o fasímetro foi:
Provas
Questão presente nas seguintes provas
Cadernos
Caderno Container