Foram encontradas 50 questões.
Segundo a Norma Regulamentadora n. 08 do MTE, o pé-direito
dos pavimentos tipos é de
Provas
Questão presente nas seguintes provas
Em um concreto com traço unitário igual a 1:1,9:2,8:0,45,
o teor de argamassa é de
Provas
Questão presente nas seguintes provas
Para um determinado tipo de concreto, o ensaio do abatimento
do tronco de cone (slump test) é um método usado
para determinar sua
Provas
Questão presente nas seguintes provas
Para um determinado tipo de concreto, a utilização de um
aditivo plastificante permite reduzir a quantidade de água
necessária e melhora a sua
Provas
Questão presente nas seguintes provas
Analise os dados e a tabela de composição de custo unitário utilizados para a realização do orçamento de 220 m2
de parede. A questão se refere-se a eles.

Provas
Questão presente nas seguintes provas
Analise os dados e a tabela de composição de custo unitário utilizados para a realização do orçamento de 220 m2
de parede. A questão se refere-se a eles.

Provas
Questão presente nas seguintes provas
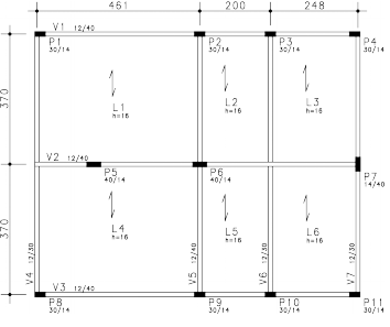
A figura a seguir corresponde à planta de fôrma do pavimento térreo de uma edificação. A questão a seguir refere-se a ela.


Provas
Questão presente nas seguintes provas
A figura a seguir corresponde à planta de fôrma do pavimento térreo de uma edificação. A questão a seguir refere-se a ela.


Provas
Questão presente nas seguintes provas
No AutoCAD, o comando que exibe o comprimento de
uma linha selecionada e que não tem efeito sobre objetos
fechados é o
Provas
Questão presente nas seguintes provas
Segundo a ABNT NBR 6118:2014, para um adequado
comportamento da estrutura quanto à aceitabilidade visual, o
valor limite da flecha é de l/250. Assim, para uma viga de
concreto armado com vão igual a 4,2 m e valor da flecha
total igual a 2,65 cm, o valor da contraflecha mínima, em
centímetros, deverá ser de
Provas
Questão presente nas seguintes provas
Cadernos
Caderno Container