Foram encontradas 50 questões.
A figura a seguir apresenta um aquário na forma de um paralelepípedo reto com suas respectivas dimensões internas. Supondo que ele esteja completamente cheio com água, cujo peso específico é de 10.000 N/m3, responda à próxima questõe.

Qual é a força exercida pela água em uma das faces de 90 x 40 cm?
Provas
O para-raios não atrai a descarga elétrica, pois, instalado num ponto alto e sem oferecer resistência à eletricidade, apenas servirá como um caminho preferencial para a corrente do raio. O para-raios predial apresentado na figura a seguir é do tipo:

Provas
Uma viga com peso próprio homogêneo .de 20 kgf/m, representada na figura a seguir, está submetida a dois esforços: um de \( 500\sqrt2 \) kgf aplicado na extremidade esquerda com uma inclinação de 45º com a horizontal e outro de 400 kgf aplicado a 4 m do apoio móvel B.

Qual é o valor da reação horizontal no apoio fixo A?
Provas
Uma viga com peso próprio homogêneo .de 20 kgf/m, representada na figura a seguir, está submetida a dois esforços: um de \( 500\sqrt2 \) kgf aplicado na extremidade esquerda com uma inclinação de 45º com a horizontal e outro de 400 kgf aplicado a 4 m do apoio móvel B.

Qual é o valor da reação vertical no apoio móvel B?
Provas
Uma viga com peso próprio homogêneo .de 20 kgf/m, representada na figura a seguir, está submetida a dois esforços: um de \( 500\sqrt2 \) kgf aplicado na extremidade esquerda com uma inclinação de 45º com a horizontal e outro de 400 kgf aplicado a 4 m do apoio móvel B.

Qual é o valor da reação vertical no apoio fixo A?
Provas
No Brasil, as linhas de transmissão são classificadas de acordo com o nível de tensão de sua operação, mensurado em Kilo Volt (kV - milhares de Volts). Para cada faixa de tensão, existe um código que representa todo um conjunto de linhas de transmissão de mesma classe. A do tipo A 1 tem uma transmissão para tensão de fornecimento igual ou superior a:
Provas
O elemento T da figura a seguir é:

Provas
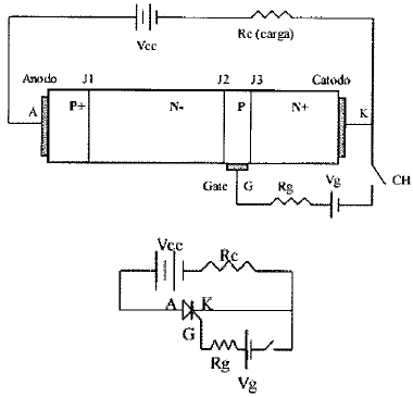
O tiristor é formado por quatro camadas semicondutoras, alternadamente p-n-p-n, possuindo 3 terminais: anodo e catodo, pelos quais flui a corrente, e a porta (ou gale) que, a uma injeção de corrente, faz com que se estabeleça a corrente anódica. A figura a seguir ilustra uma estrutura simplificada do dispositivo.

Se entre anodo e catodo tiver uma tensão positiva,é CORRETO afirmar que:
Provas
Um fio condutor de eletricidade (corrente contínua de valor elevado) projeta-se perpendicularmente em um plano, conforme a figura a seguir.
Uma bússola é colocada na posição M. Assinale a alternativa que apresenta a agulha da bussola diante da corrente elétrica.

Provas
Sobre os tipos de corrente elétrica, contínua e alternada, é ERRADO afirmar que:
Provas
Caderno Container