Foram encontradas 100 questões.
TEXTO:
Outro dia eu estava folheando uma revista de arquitetura. Como são bonitas essas casas modernas; o risco é ousado e às vezes lindo, as salas são claras, parecem jardins com teto, o arquiteto faz escultura em cimento armado e a gente vive dentro da escultura e da paisagem.
Um amigo meu quis reformar seu apartamento e chamou um arquiteto novo.
O rapaz disse: “vamos tirar esta parede e também aquela; você ficará com uma sala ampla e cheia de luz. Esta porta podemos arrancar; para que porta aqui? E esta outra parede vamos substituir por vidro; a casa ficará mais clara e mais alegre” . E meu amigo tinha um ar feliz.
Eu estava bebendo a um canto, e fiquei em silêncio. Pensei nas casinhas que vira na revista e na reforma que meu amigo ia fazer em seu velho apartamento. E cheguei à conclusão de que estou velho mesmo.
Porque a casa que eu não tenho, eu a quero cercada de muros altos, e quero as paredes bem grossas e quero muitas paredes, e dentro da casa muitas portas com trincos e trancas; e um quarto bem escuro para esconder meus segredos e outro para esconder minha solidão.
Pode haver uma janela alta de onde eu veja o céu e o mar, mas deve haver um canto bem sossegado em que eu possa ficar sozinho, quieto, pensando minhas coisas, um canto sossegado onde um dia eu possa morrer.
A mocidade pode viver nessas alegres barracas de cimento, nós precisamos de sólidas fortalezas; a casa deve ser antes de tudo o asilo inviolável do cidadão triste; onde ele possa bradar, sem medo nem vergonha, o nome de sua amada: Joana, JOANA! – certo de que ninguém ouvirá; casa é o lugar de andar nu de corpo e de alma, e sítio para falar sozinho.
Onde eu, que não sei desenhar, possa levar dias tentando traçar na parede o perfil de minha amada, sem que ninguém veja e sorria; onde eu, que não sei fazer versos, possa improvisar canções em alta voz para o meu amor; onde eu, que não tenho crença, possa rezar a divindades ocultas, que são apenas minhas.
Casa deve ser a preparação para o segredo maior do túmulo.
BRAGA, R. A casa. 200 crônicas escolhidas. Rio de Janeiro: BestBolso, 2011. p. 359-360. Seleção Saraiva Vira-vira 1.
A substituição da preposição “de” pelo vocábulo por, no fragmento “Pode haver uma janela alta de onde eu veja o céu e o mar”, resulta em outro significado para o contexto frasal.
Provas
Questão presente nas seguintes provas
Uma fronteira adiabática é uma fronteira permeável ao calor.
Provas
Questão presente nas seguintes provas
Se o movimento tridimensional de um ponto material é definido pelo vetor posição r = R.sen(p.t).i – c.t.j – R.Cos(p.t).k, pode-se concluir que os módulos da velocidade e da aceleração do ponto material são, respectivamente, !$ v= \sqrt{ R^2.p^2 - c^2} !$ e !$ a = - R.p^2 !$
Provas
Questão presente nas seguintes provas
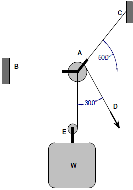
O cabo e o sistema de polias mostrados são utilizados por um campista para elevar uma mochila para o alto de uma árvore, mantendo-a fora do alcance de animais. Se os cabos AB e AC suportam 900N e o cabo DAE suporta 450N, então o maior peso W que pode ser levantado é de 698,787N.

Provas
Questão presente nas seguintes provas
TEXTO:
A cidade não é apenas a organização funcional do espaço, suas ruas e edificações, seus bairros, pessoas carregando sonhos, isoladas na multidão, em um deserto de prédios, que aboliu o horizonte e apagou as estrelas. A cidade é a expressão das relações sociais de produção capitalista, sua materialização política e espacial que está na base da produção e reprodução do capital.
A cidade é a forma reificada dessas relações, mas também do amadurecimento das contradições que lhes são próprias. É a unidade de contrários, não apenas pelas profundas desigualdades, mas pela dinâmica da ordem e da explosão. As contradições, na maioria das vezes, explodem, cotidianamente, invisíveis. Bairros e pessoas pobres, assaltos, lixo, doenças, engarrafamentos, drogas, violência, exploração, mercado de coisas e de corpos transformados em coisas. As contradições surgem como grafites que insistem em pintar de cores e beleza a cidade cinza e feia. Estão lá, pulsando, nas veias que correm sob a pele urbana.
As pessoas vivem as explorações cotidianas das contradições urbanas na forma de uma serialidade, isto é, presas em seus casulos individuais, estão no mesmo lugar fazendo as mesmas coisas, mas não formam um grupo, e sim um coletivo serial no qual prevalece a indiferença mútua.
No âmbito da serialidade e do cotidiano, a consciência correnponde ao que Lukács denomina de consciência reificada – ou o senso comum para Gramsci. Submetidos à sociedade do capital, interiorizamos as relações sociais na forma de uma representação que as toma como naturais e imutáveis. Nossa consciência imediata assume uma forma particular da realidade como se fosse a realidade, que sempre foi e sempre será assim. Navegamos nas diferentes esferas que compõem a vida de forma fragmentária e superficial, e não como totalidade articulada.
O real aqui se apresenta como uma impossibilidade, nos termos freudianos “princípio de realidade”, que deve condicionar a realização do desejo. Para o pai da psicanálise, não há civilização sem repressão. Será Reich quem irá nos lembrar que “a definição do princípio da realidade como exigência da sociedade permanece formal, se não se acrescentar concretamente que o princípio da realidade, sob a forma que se reveste para nós atualmente, é o princípio da sociedade capitalista”.
LASI, M. L. A rebelião, a cidade e a consciência. In: MARICATO,
E. et al. Cidades rebeldes: passe livre e as manifestações que tomaram as ruas do Brasil. São Paulo: Boitempo: Carta Maior, 2013. p. 40-41.
Provas
Questão presente nas seguintes provas
A compressibilidade de um líquido é definida pelo módulo de sua elasticidade volumétrica, que é expressa pela equação !$ K = - \vartheta { \Large { dp \over d \vartheta}} !$
Provas
Questão presente nas seguintes provas
Uma pequena bola com 7,5kg de massa é posta para girar descrevendo uma circunferência horizontal, como ilustrado. Sabendo-se que a aceleração da gravidade é de 9,80665m/s2 e que a máxima tensão permitida na corda é de 150N, conclui-se que a velocidade máxima permitida para L = 2m é de 5,512m/s, e que o valor correspondente do ângulo é de (60,638)º.

Provas
Questão presente nas seguintes provas
Freios e embreagens não falham por desgaste adesivo, abrasivo ou corrosivo em razão dos materiais escolhidos e do ambiente operacional. Além disso, os modos de falha relacionados à temperatura são pouco prováveis para esses dispositivos.
Provas
Questão presente nas seguintes provas
TEXTO:
Outro dia eu estava folheando uma revista de arquitetura. Como são bonitas essas casas modernas; o risco é ousado e às vezes lindo, as salas são claras, parecem jardins com teto, o arquiteto faz escultura em cimento armado e a gente vive dentro da escultura e da paisagem.
Um amigo meu quis reformar seu apartamento e chamou um arquiteto novo.
O rapaz disse: “vamos tirar esta parede e também aquela; você ficará com uma sala ampla e cheia de luz. Esta porta podemos arrancar; para que porta aqui? E esta outra parede vamos substituir por vidro; a casa ficará mais clara e mais alegre” . E meu amigo tinha um ar feliz.
Eu estava bebendo a um canto, e fiquei em silêncio. Pensei nas casinhas que vira na revista e na reforma que meu amigo ia fazer em seu velho apartamento. E cheguei à conclusão de que estou velho mesmo.
Porque a casa que eu não tenho, eu a quero cercada de muros altos, e quero as paredes bem grossas e quero muitas paredes, e dentro da casa muitas portas com trincos e trancas; e um quarto bem escuro para esconder meus segredos e outro para esconder minha solidão.
Pode haver uma janela alta de onde eu veja o céu e o mar, mas deve haver um canto bem sossegado em que eu possa ficar sozinho, quieto, pensando minhas coisas, um canto sossegado onde um dia eu possa morrer.
A mocidade pode viver nessas alegres barracas de cimento, nós precisamos de sólidas fortalezas; a casa deve ser antes de tudo o asilo inviolável do cidadão triste; onde ele possa bradar, sem medo nem vergonha, o nome de sua amada: Joana, JOANA! – certo de que ninguém ouvirá; casa é o lugar de andar nu de corpo e de alma, e sítio para falar sozinho.
Onde eu, que não sei desenhar, possa levar dias tentando traçar na parede o perfil de minha amada, sem que ninguém veja e sorria; onde eu, que não sei fazer versos, possa improvisar canções em alta voz para o meu amor; onde eu, que não tenho crença, possa rezar a divindades ocultas, que são apenas minhas.
Casa deve ser a preparação para o segredo maior do túmulo.
BRAGA, R. A casa. 200 crônicas escolhidas. Rio de Janeiro: BestBolso, 2011. p. 359-360. Seleção Saraiva Vira-vira 1.
O enunciador do discurso conduz a sua narrativa priorizando uma linguagem referencial e precisa.
Provas
Questão presente nas seguintes provas
TEXTO:
A cidade não é apenas a organização funcional do espaço, suas ruas e edificações, seus bairros, pessoas carregando sonhos, isoladas na multidão, em um deserto de prédios, que aboliu o horizonte e apagou as estrelas. A cidade é a expressão das relações sociais de produção capitalista, sua materialização política e espacial que está na base da produção e reprodução do capital.
A cidade é a forma reificada dessas relações, mas também do amadurecimento das contradições que lhes são próprias. É a unidade de contrários, não apenas pelas profundas desigualdades, mas pela dinâmica da ordem e da explosão. As contradições, na maioria das vezes, explodem, cotidianamente, invisíveis. Bairros e pessoas pobres, assaltos, lixo, doenças, engarrafamentos, drogas, violência, exploração, mercado de coisas e de corpos transformados em coisas. As contradições surgem como grafites que insistem em pintar de cores e beleza a cidade cinza e feia. Estão lá, pulsando, nas veias que correm sob a pele urbana.
As pessoas vivem as explorações cotidianas das contradições urbanas na forma de uma serialidade, isto é, presas em seus casulos individuais, estão no mesmo lugar fazendo as mesmas coisas, mas não formam um grupo, e sim um coletivo serial no qual prevalece a indiferença mútua.
No âmbito da serialidade e do cotidiano, a consciência correnponde ao que Lukács denomina de consciência reificada – ou o senso comum para Gramsci. Submetidos à sociedade do capital, interiorizamos as relações sociais na forma de uma representação que as toma como naturais e imutáveis. Nossa consciência imediata assume uma forma particular da realidade como se fosse a realidade, que sempre foi e sempre será assim. Navegamos nas diferentes esferas que compõem a vida de forma fragmentária e superficial, e não como totalidade articulada.
O real aqui se apresenta como uma impossibilidade, nos termos freudianos “princípio de realidade”, que deve condicionar a realização do desejo. Para o pai da psicanálise, não há civilização sem repressão. Será Reich quem irá nos lembrar que “a definição do princípio da realidade como exigência da sociedade permanece formal, se não se acrescentar concretamente que o princípio da realidade, sob a forma que se reveste para nós atualmente, é o princípio da sociedade capitalista”.
LASI, M. L. A rebelião, a cidade e a consciência. In: MARICATO,
E. et al. Cidades rebeldes: passe livre e as manifestações que tomaram as ruas do Brasil. São Paulo: Boitempo: Carta Maior, 2013. p. 40-41.
O fragmento “que aboliu o horizonte e apagou as estrelas.” apresenta dois pensamentos cujos conteúdos são contraditórios.
Provas
Questão presente nas seguintes provas
Cadernos
Caderno Container