Foram encontradas 60 questões.
A cabonatação do concreto endurecido gera alterações de natureza físico-química, dentre as quais
Provas
Questão presente nas seguintes provas
Leitor de e-book lê mais. E aí?
Raquel Cozer
Dias atrás, em entrevista a um documentário universitário sobre mídias digitais, fui questionada sobre a possibilidade de os e-readers estimularem a leitura. Respondi que não acredito muito nisso. Acho que quem lê em e-readers é quem já lia muito antes em papel(a), já que quem não tem o costume de ler não teria interesse em comprar um e-reader, e quem lê pouco e compra um tablet o usa mais para outras coisas.
Mas disse acreditar que os e-readers ao menos estimulam a compra de livros por impulso, o que pode ser mais benéfico para as editoras do que para o leitor, na verdade, já que boa parte daqueles livros digitais permanecerá tão intocada quanto ficaria numa livraria.
Nem uma semana depois da entrevista, saiu um infográfico sobre o assunto no Good.is, partindo do fato de que um em cada dez americanos já tem e-reader para questionar como isso mudou os hábitos de leitura.
Segundo a pesquisa, quem tem e-reader compra mais livros(b). Dois em cada três donos de leitores eletrônicos compram seis ou mais livros por ano, enquanto mais ou menos a mesma parcela dos que não têm e-reader compram no máximo cinco livros por ano.
A parte que dá mais o que pensar é a que diz respeito à leitura. Diz o texto: "Donos de e-readers leem mais livros, na média, que aqueles que leem no papel. A maioria dos que usam e-readers lê mais de dez livros por ano, ante apenas 38% daqueles que leem livros tradicionais".
À primeira vista, pode levar à conclusão de que o digital estimula a leitura(d), mas isso também pode ser entendido de outra forma. Se 10% dos americanos têm hoje um e-reader, você pode desconfiar de que são os 10% que mais gostam de ler. Talvez melhor fosse perguntar se quando liam só em papel eles liam esse tanto, ou se o tempo dedicado à leitura aumentou depois que passaram a ler em e-reader.
Outra coisa é que uma pesquisa sobre quantos livros alguém lê por ano nunca será muito precisa. Eu não sei quantos livros leio ao ano, ainda que o fato de trabalhar com isso facilite uma estimativa. Será mesmo que mais de 20% dos americanos lê mais de 21 livros por ano?(c) Isso daria pelo menos um livro a cada duas semanas e meia (na média, segundo mapeamentos mais amplos, os americanos leem em média 5,1 livros ao ano, ante 4,7 no Brasil, onde o crescimento nesses índices foi de 150% nos últimos dez anos).
De todo modo, vale destacar o crescimento da leitura em mídias digitais nos EUA(e), que foi quem abriu essas porteiras – e que, embora esteja muito à frente dos outros países, pode servir de parâmetro para o crescimento da leitura digital nos próximos anos no mundo.
Na visita ao Brasil, na semana passada, o diretor de parcerias (etc etc, é um cargo enorme) do Google, Tom Turvey, trouxe um número interessante: hoje, 23% dos livros vendidos nos USA são digitais. Em 2008, esse número correspondia a 0,5% (que deve ser mais ou menos como é hoje no Brasil). Em 2010, tinha chegado a 6,5%. O crescimento desde então não deixa de ser impressionante.
Disponível em: <http://abibliotecaderaquel.folha.blog.uol.com.br/>
Por se tratar de um artigo de opinião, é comum que surjam no texto marcas de subjetividade. Pode-se perceber explicitamente uma delas no seguinte excerto:
Provas
Questão presente nas seguintes provas
O avanço da carbonatação no concreto ocorre, sobretudo, pela porosidade elevada que possivelmente exista no concreto, a qual pode ser minimizada por meio de
Provas
Questão presente nas seguintes provas
Leitor de e-book lê mais. E aí?
Raquel Cozer
Dias atrás, em entrevista a um documentário universitário sobre mídias digitais, fui questionada sobre a possibilidade de os e-readers estimularem a leitura. Respondi que não acredito muito nisso. Acho que quem lê em e-readers é quem já lia muito antes em papel, já que quem não tem o costume de ler não teria interesse em comprar um e-reader, e quem lê pouco e compra um tablet o usa mais para outras coisas.
Mas disse acreditar que os e-readers ao menos estimulam a compra de livros por impulso, o que pode ser mais benéfico para as editoras do que para o leitor, na verdade, já que boa parte daqueles livros digitais permanecerá tão intocada quanto ficaria numa livraria.
Nem uma semana depois da entrevista, saiu um infográfico sobre o assunto no Good.is, partindo do fato de que um em cada dez americanos já tem e-reader para questionar como isso mudou os hábitos de leitura.
Segundo a pesquisa, quem tem e-reader compra mais livros. Dois em cada três donos de leitores eletrônicos compram seis ou mais livros por ano, enquanto mais ou menos a mesma parcela dos que não têm e-reader compram no máximo cinco livros por ano.
A parte que dá mais o que pensar é a que diz respeito à leitura. Diz o texto: "Donos de e-readers leem mais livros, na média, que aqueles que leem no papel. A maioria dos que usam e-readers lê mais de dez livros por ano, ante apenas 38% daqueles que leem livros tradicionais".
À primeira vista, pode levar à conclusão de que o digital estimula a leitura, mas isso também pode ser entendido de outra forma. Se 10% dos americanos têm hoje um e-reader, você pode desconfiar de que são os 10% que mais gostam de ler. Talvez melhor fosse perguntar se quando liam só em papel eles liam esse tanto, ou se o tempo dedicado à leitura aumentou depois que passaram a ler em e-reader.
Outra coisa é que uma pesquisa sobre quantos livros alguém lê por ano nunca será muito precisa. Eu não sei quantos livros leio ao ano, ainda que o fato de trabalhar com isso facilite uma estimativa. Será mesmo que mais de 20% dos americanos lê mais de 21 livros por ano? Isso daria pelo menos um livro a cada duas semanas e meia (na média, segundo mapeamentos mais amplos, os americanos leem em média 5,1 livros ao ano, ante 4,7 no Brasil, onde o crescimento nesses índices foi de 150% nos últimos dez anos).
De todo modo, vale destacar o crescimento da leitura em mídias digitais nos EUA, que foi quem abriu essas porteiras – e que, embora esteja muito à frente dos outros países, pode servir de parâmetro para o crescimento da leitura digital nos próximos anos no mundo.
Na visita ao Brasil, na semana passada, o diretor de parcerias (etc etc, é um cargo enorme) do Google, Tom Turvey, trouxe um número interessante: hoje, 23% dos livros vendidos nos USA são digitais. Em 2008, esse número correspondia a 0,5% (que deve ser mais ou menos como é hoje no Brasil). Em 2010, tinha chegado a 6,5%. O crescimento desde então não deixa de ser impressionante.
Disponível em: <http://abibliotecaderaquel.folha.blog.uol.com.br/>
No período "(...) boa parte daqueles livros digitais permanecerá tão intocada quanto ficaria numa livraria", admite-se, quanto à concordância verbal, que o verbo destacado também seja corretamente utilizado no plural (permanecerão). Assinale a opção em que se pode também utilizar o verbo tanto no singular quanto no plural.
Provas
Questão presente nas seguintes provas
Para grandes vãos, com redução de interferências de vigas e pilares no espaço interno, recomenda-se o uso de lajes de concreto armado
Provas
Questão presente nas seguintes provas
Leia o fragmento e responda a questão abaixo.
"Mas disse acreditar que1 os e-readers ao menos estimulam a compra de livros por impulso, o que2 pode ser mais benéfico para as editoras do que3 para o leitor, na verdade, já que4 boa parte daqueles livros digitais permanecerá tão intocada quanto ficaria numa livraria."
Considere as afirmações sobre as relações morfossintáticas das ocorrências da palavra QUE, destacadas no fragmento acima:
I. O primeiro QUE inicia uma oração subordinada substantiva objetiva direta, uma vez que não se encontra precedido de preposição.
II. O segundo QUE, por iniciar uma oração subordinada adjetiva, é um pronome relativo, exercendo a função sintática de sujeito.
III. O terceiro QUE inicia uma oração subordinada adverbial comparativa, apesar de não estar explícito o verbo da oração.
IV. O quarto QUE expressa uma ideia de explicação ao fato exposto na oração anterior.
V. Em todas as ocorrências, o QUE inicia orações independentes do ponto de vista sintático.
Estão corretas as assertivas:
Provas
Questão presente nas seguintes provas
O desenho abaixo representa um reservatório de água em concreto armado.

A quantidade aproximada de aço, em tonelada, para o concreto, considerando-se um peso específico de concreto armado da ordem de 26,50 kN e do concreto simples de 24,55 kN, é
Provas
Questão presente nas seguintes provas
O desenho abaixo representa um reservatório de água em concreto armado. O volume de concreto, incluindo paredes e lajes de fundo e superior, é, aproximadamente,

Provas
Questão presente nas seguintes provas
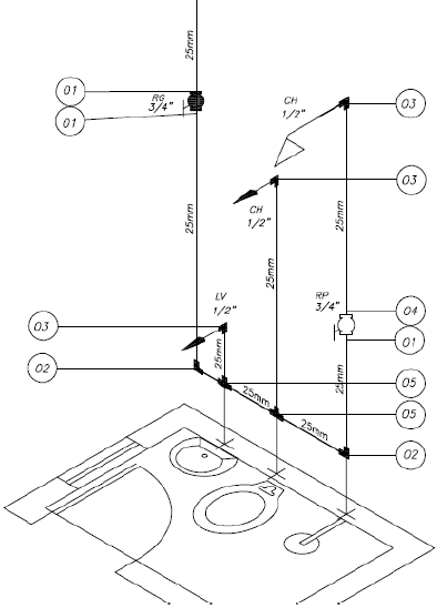
O detalhe isométrico representado na figura foi projetado com tubulação em PVC soldável e as conexões com roscas em latão. Baseado nas conexões assinaladas na figura, pode-se dizer que as quantidades de conexões necessárias para execução desta instalação são:

Figura – Detalhe Isométrico de banheiro
Provas
Questão presente nas seguintes provas
O piso do refeitório de uma escola deve ser revestido com cerâmica, tipo policarbonato, com dimensões de 42 x 42 cm e juntas de 3 mm. O refeitório tem área com as seguintes dimensões: largura – 6,30 metros; comprimento – 14,00 m. O número de fiadas (largura), de colunas (comprimento) inteiras e dos trinchos (aproximadamente) são, respectivamente, de
Provas
Questão presente nas seguintes provas
Cadernos
Caderno Container